Moduler kan leveres som Basic, Plus eller Argo

Basic

Vår rimeligste modulserie. Kan leveres flatpakket, og har da svært gunstig pris ved kjøp av 6 stk. Veggelementer som kan demonteres eller flyttes på i etterkant. Boltet ramme. 100 mm mineralull i tak, gulv og vegger. Kan kun leveres i 20’/6 m lengde. Innvendig høyde 2,3 eller 2,5 m.

Plus

Bestselger! 100 mm mineralull i gulv/tak. 80 mm polyuretanskum sørger for at det ikke trengs treramme i veggene som skaper kuldebroer. Dette gir en del bedre isolering enn Basic. Rammen er sveist, kan ikke demonteres. Tettere mellom vegg og tak/gulv enn det som er mulig med Basic. Kan leveres i 3-9 m lengde og 2-3 m bredde. Innvendig høyde 2,3 eller 2,5 m.

Argo

Isolert i henhold til minstekrav i TEK17 med 120 mm polyuretanskum i tak/gulv, og 100 mm i vegger. Mye bedre isolert enn Plus og Basic. Kan leveres i 3-9 m lengde og 2-3 m bredde. Innvendig høyde 2,25 eller 2,5 m.


I de fleste prosjekter kreves Argo moduler som er isolert i henhold til minstekrav i TEK17. Men kommunen kan gi dispensasjon fra disse kravene av forskjellige grunner, og da kan både Basic og Plus brukes. Det kan være lurt å ta en forhåndskonferanse med kommunen tidlig i prosjektet for å avklare dette.Les mer om dispensasjon hos Norsk Kommunalteknisk Forening

Standardutstyr for alle moduler
  • 1 stk 2 kW varmeovn med termostat
  • 3 stk doble stikkontakter
  • 2 stk LED 36 W taklamper
  • Norsk elektrisk standard
  • 2 mm ekstra slitesterkt vinylgulv i grå farge

20′ Lomp med wc

  • 3,3 m tilgjengelig plass for garderobeskap
  • 2 stk WC
  • 3 stk vasker
  • 1 stk ytterdør

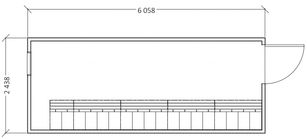
20′ Lompebrakke

  • 18 stk garderobeskap
  • Benk under som kan trekkes frem
  • 1 stk ytterdør
  • 1 stk sanitærvindu

20′ Lomp med wc 2

  • 24 stk garderobeskap
  • Bank under som kan trekkes frem
  • 1 stk toalett med vask
  • 1 stk ytterdør

Kontakt oss